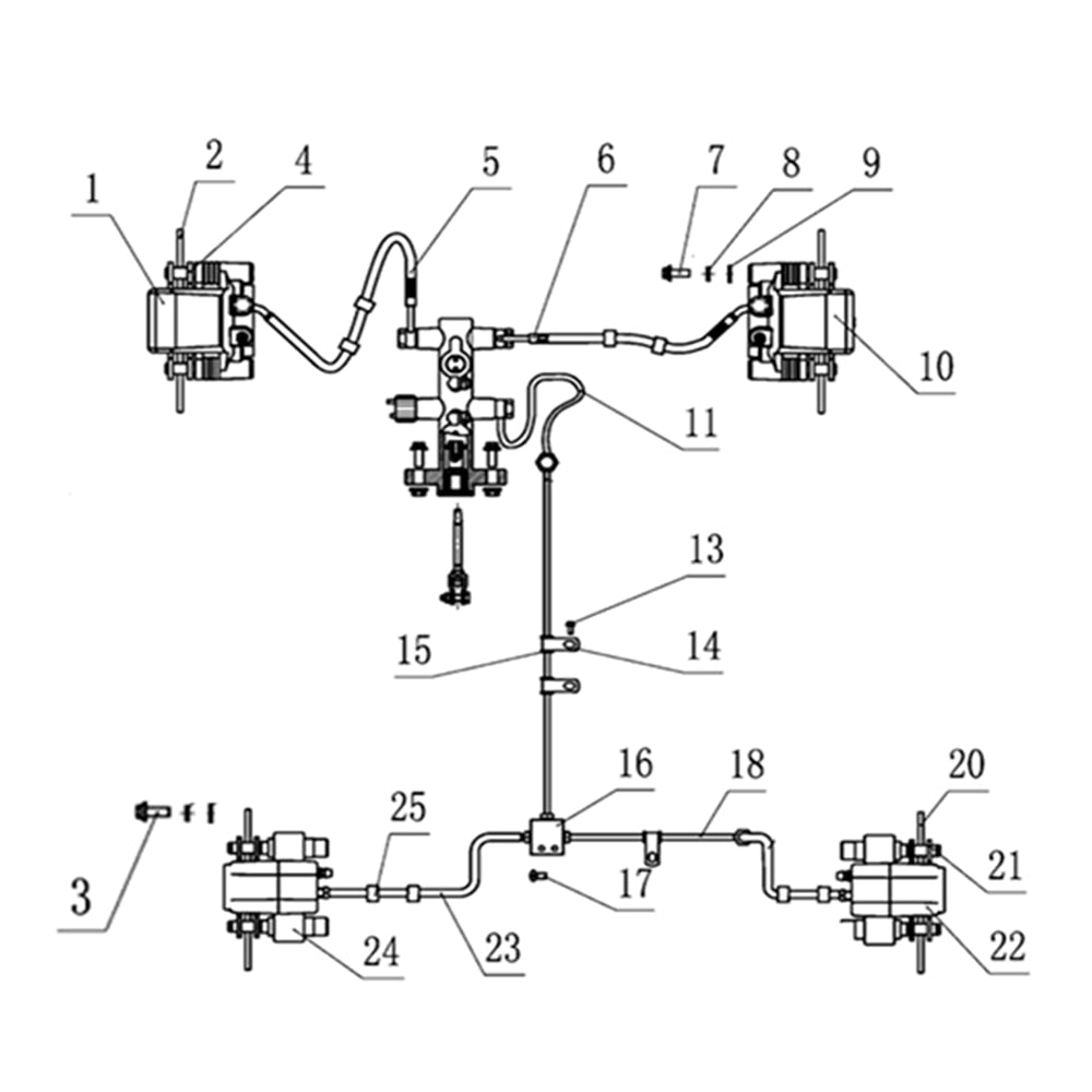
T-BOSS 1100D BRAKE SYSTEM

Kit Product

SKU: T-BOSS 1100D BRAKE SYSTEM
REF# SKU Title Price Quantity