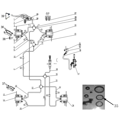
MSA 750 BRAKING SYSTEM

Kit Product

SKU: MSA 750 BRAKING SYSTEM
REF# SKU Title Price Quantity